Push-Pull (PP) EL84 (6BQ5) or 6V6 (6AQ5) Schematic
Dynaco Push-Pull EL84 / 6BQ5 or 6V6 / 6AQ5 Tube Amp Schematic
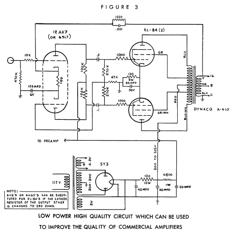
The EL84 (6BQ5) / 6V6 Push-Pull tube amplifier schematic and text below is from the Dynaco Super-Fidelity Output Transformers catalog circulated around 1955.
"Figure 3 illustrates a low power circuit (12 watts at less than 1% distortion) which is similar to that used in many of the medium priced commercial amplifiers. Either EL84/6BQ5 or tubes of the 6V6 and 6AQ5 type can be used in this configuration with the Dynaco A-410 transformer (8000 ohms CT). The use of this super-fidelity transformer in commercial grade equipment makes a substantial improvement in transient response as well as drastically lowering the distortion. Most commercial amplifiers can be greatly improved merely by direct substitution of the Dynaco A-410 for amplifiers of the 6V6 type."
Push-Pull (PP) EL84 (6BQ5) or 6V6 (6AQ5) Tube Amp Schematic with Dynaco A-410 Transformers
The power supply uses a 5Y3 tube rectifier and a C-R-C filter. More information about tube power suppies is available in the Power Supply Design for Vacuum Tube Amplifiers article.
For an application of this push-pull tube amplifier schematic using 6SL7 and 6V6 tubes, see Brad's 6SL7 driver, 6V6 push-pull DIY tube amplifier build.
