A Direct-Coupled Amplifier with Cathode Follower
A Direct-Coupled Amplifier with Cathode Follower by Raymond H. Bates
This is an OCR scan of the article "A Direct-Coupled Amplifier with Cathode Follower" by Raymond H. Bates which appeared in the November 1949 issue of Radio & Television News.
A Direct-Coupled Amplifier with Cathode Follower - Raymond H. Bates - Radio & Television News, Nov. 1949
Two novel circuits in a single audio amplifier provide wide frequency response with a minimum of distortion.
THE construction of the amplifier to be described in this article was actually initiated a little over two years ago, at which time I became an enthusiastic audio ham. During the recent war I was associated with radar in a practical way and so became acquainted with the cathode-follower which was used extensively in radar as an inexpensive medium for matching a high impedance to a low impedance in voltage amplifier stages. At that time, it appeared to me that the cathode-follower might be ideally suited for audio output stages where the problem of getting a good impedance match is generally difficult and usually expensive. With this in the back of my mind, I began experimenting with all types of audio amplifiers, searching for a circuit that would provide a lot of performance for a minimum of parts. Previous issues of RADIO & TELEVISION NEWS, I discovered, had described both cathode-follower and direct-coupled amplifiers as separate circuits. I could not find any articles that described an audio amplifier with both direct coupling between stages and cathode-follower output. So, using old issues of RADIO & TELEVISION NEWS as source material, I proceeded to construct this amplifier.
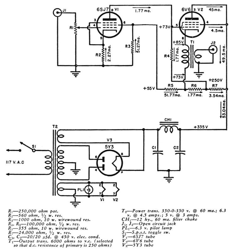
As can be seen in the schematic diagram, the circuitry is extremely simple.
Complete schematic diagram of direct-coupled 6V6 cathode-follower amplifier.
There are two features that give this amplifier its superior performance. One is direct coupling between the plate of the 6SJ7 and the grid of the 6V6. The other is the cathode-follower output from the 6V6.
In addition to its simplicity, direct coupling eliminates the undesirable characteristics that are inherent in ordinary resistance-capacitance coupling, such as short circuiting of weak signals and grid blocking of strong signals.
The cathode-follower output, in addition to its simplicity, provides both improved high and low frequency response, damping out of all the peaks in both the output transformer and speaker, less distortion, and 100 percent degenerative feedback.
In order to determine the circuit values in the schematic, free use was made of the tube manuals and Kirchoff's and Ohm's laws. Commencing with the output stage in the conventional manner, the tube manuals indicate that for a single-stage output, a 6L6, 6V6, 6F6, or 6K6 are likely output tubes. The 6V6 was selected because of its ready availability and relatively lower percentage harmonic distortion rating. The 6SJ7 was chosen mainly because of its high gain and low percent distortion.
In order to keep power requirements down, I chose a 350 volt, center-tapped, 120 mA (53 mA only required) power transformer which is readily available at moderate cost. Allowing for a 15 volt drop in the filter choke and a 250 volt drop from the plate to the cathode of the 6V6, 85 volts is available at the cathode of the 6V6. Since in a direct coupled circuit the grid bias, 12.5 volts in this case, is obtained by the voltage differential between the cathode and grid, approximately 73 volts is required at the grid of the 6V6 (and at the plate of the 6SJ7, inasmuch as these two tube elements are connected directly together). With 73 volts at the plate and 55 volts at the screen of the 6SJ7, a voltage amplification of 115 can be obtained at only 0.8 percent distortion. This means that a 0.1 volt signal at the grid of the 6SJ7 will provide a 11.5 volt signal at the grid of the 6V6 which is considered adequate.
In accordance with Kirchoff's law, the voltage and current distribution around the circuit is indicated in the schematic. Note that there is a 12.5 volt drop through the DC resistance of the primary of the output transformer which was measured to be approximately 250 ohms. The cathode-follower output is obtained simply by connecting the transformer to the cathode of the 6V6 and tying the plate and screen of the 6V6 together to the "B plus" supply, as shown.
The output of the amplifier is approximately 4.5 watts. While this figure may seem low to those accustomed to dealing with amplifiers having output of 20 or more watts, it is entirely adequate for home use when an efficient speaker system is used.
Tests made by various organizations have shown that for listening in the average home living room, an output of less than one watt is generally used. The only reason for providing more power than this is to allow for the peak passages that occur in some classical compositions.
The input sensitivity is such that even the high-quality, low-output crystal pickups will provide sufficient drive.
No provision has been made for the use of variable reluctance pickups, although there is no reason why such units could not be used if a preamplifier stage were added. There have been many satisfactory preamplifiers described in various issues of this magazine.
In the event a preamplifier is used for the magnetic pickups, great care should be exercised in the shielding and placement of parts to avoid hum pickup. The careful selection of the tube used in the preamplifier will aid materially in the reduction of hum.
There is sufficient reserve capacity in the power supply to take care of almost any type of preamplifier without any trouble.
No provision for tone controls has been made, although they could be added with little difficulty. There is a great deal of controversy as to the best type of tone control, and it was felt that they could be added at a later date when the most satisfactory type had been determined by experiment.
It is essential that the primary of the output transformer, T1 have a resistance of approximately 250 ohms, as the resistance of this winding determines the grid bias for the 6V6. A check of the various types of transformers on the dealers' shelves by means of an ohmmeter will be sufficient. The primary impedance of this transformer should be from 5000 to 6000 ohms, with the higher value giving slightly less distortion.
The voice coil winding should be selected to match the speaker in use. Most of the better speakers have an impedance in the vicinity of 8 ohms, and for that reason t his value is specified.
It is not essential that this transformer be of the sealed type, but it should be of good quality so that the full benefit of the amplifier may be realized. Poor transformers are usually deficient in frequency response at the upper and lower frequencies.
The power supply, being conventional, needs no explanation.
Under-chassis view shows relative placement of miscellaneous components.
As can be seen in the photographs, the construction of the amplifier is simple and straightforward, with point to point wiring being used throughout. All the parts used are of good quality, all chokes and transformers being shielded and/or hermetically sealed. The total cost is slightly less than ten dollars. By observing the usual preCautions, twisting filament leads, etc., hum is inaudible at full gain.
When used with a good-quality tuner or record reproducer and a well baffled extended range speaker, the performance of this amplifier is superior for average living-room listening. The author used a Pilotuner for FM programs, a Webster dual speed record player for reproducing the conventional 78 r.p.m. and Columbia 33-1/3 r.p.m. records, an RCA player for the new 45 r.p.m. records, and a Jensen bass reflex reproducer.
Lacking laboratory test equipment, the author could not conduct the usual harmonic and intermodulation distortion tests on this amplifier. However, judging from extensive living-room listening tests, using recordings ranging from the RCA Victor Red Seal version of "Night on Bald Mountain" to the Capital Stan Kenton rendition of "Peanut Vendor," this amplifier leaves little to be desired.
If you've never listened to a direct coupled cathode-follower amplifier, then you have a pleasure to look forward to while constructing this one.
